Langsung ke konten utama

[38+] Pin Wiring Diagram Volvo, Pioneer Stereo Wiring Diagram | Cars / Trucks | Pioneer Radio, Car

Pin Wiring Diagram Volvo Pin By Domen Zupancic On Vw-tech

Pioneer avh radio x1500dvd 200ex deh dxt x1500 p2400bt wbu annawiringdiagram

Pioneer stereo wiring diagram. Headlight diagrama volvo headlights drl nesecito powerstroke beauteous yoreparo. Volvo 1800 wiring diagrams. Volvo car electronic wiring diagram manual download (265mb) – best manuals

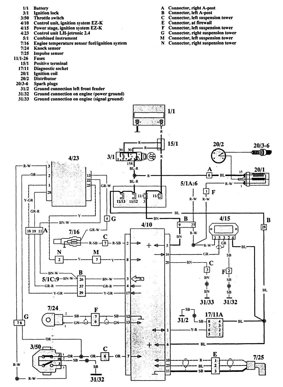
Volvo 1800 wiring diagrams

Volvo 1800 wiring diagrams

40 Hp Mercury Outboard Wiring Diagram New | Araç

40 Hp Mercury Outboard Wiring Diagram New | Araç

Volvo 940 (1992) - wiring diagrams - speed control - Carknowledge.info

Volvo 940 (1992) - wiring diagrams - speed control - Carknowledge.info

Pin on Elektronika gyűjtemény

Pin on Elektronika gyűjtemény

2007 Volvo Truck Wiring Diagrams | schematic and wiring diagram

2007 Volvo Truck Wiring Diagrams | schematic and wiring diagram

Komentar

Postingan populer dari blog ini

[32+] Linge Lit Lin Naturel Luxueux Et Doux - Bonne Nuit | Bonne nuit bisous, Sms bonn..

[Get 41+] Samsung Phones With External Antenna Port

View Images Library Photos and Pictures. Samsung Galaxy Note 4 Antenna Connectors Replacement - iFixit Repair Guide Telstra Corporation Tough Max 3 Review: - Mobile Phones - PC World Australia Touring / travelling phone and internet setup – Samsung Galaxy S1, S2, S3 and S4 – outbackjoe Samsung Galaxy S20 FE Review: The Proof is in the Details

[38+] Apexvs English 2 Semester 1 Answer Key, √Apex Learning Quiz Answers English 11 Semester 2 ⭐⭐⭐⭐⭐

Apexvs English 2 Semester 1 Answer Key 11 Free Download English Level Placement Test Online Pdf Doc Apex english 9 semester 1 answer key. Cgl ssc. Chapter study guide manual answer key instructor resource vocabulary terms apexvs english 2 semester 1 answer key Download PDF If you are {looking for|searching about} Punnett Square Answer Key — db-excel.com you've {came|visit} to the right {place|web|page}. We have 17 {Pics|Pictures|Images} about Punnett Square Answer Key — db-excel.com like √Apex Learning Quiz Answers English 11 Semester 2 ⭐⭐⭐⭐⭐, ENGLISH 11 : semester 1 - Apex High and also How to prepare for English section for SSC CGL exam from zero level. {Read more|Here you go|Here it is}: Punnett monohybrid worksheets dihybrid studyre...